Nike新获3D打印专利,推动鞋履制造创新
3D打印技术参考注意到,美国专利商标局已授予耐克(Nike)一项新的鞋履3D打印专利。这项专利展示了一种创新的鞋履制造方法,通过将数字设计直接3D打印到织物材料上来制造鞋面,并将鞋底直接打印到鞋面上,从而摒弃了传统的两部分鞋履制造技术。该专利标志着Nike在3D打印技术领域的又一次重大突破。

耐克的新方法不仅实现了材料的高级定制,还允许设计师增强鞋履的强度、刚性、支撑性、灵活性和耐磨性。通过去除传统的胶水、缝线和多余的材料层,耐克有望打造出更轻便的鞋履设计。
该专利由耐克David P. Jones和Ryan R. Larson主导研发。Jones是多项与服装装配直接3D打印相关的专利共同发明人,而Larson则是耐克鞋履缓震创新部门的总监,也是公司增材制造领域的活跃人物。这项专利最初于2023年12月提交,2024年4月公布,并于本周正式获批。

耐克在3D打印领域已经深耕十余年。2013年,耐克推出了首款3D打印足球鞋——Vapor Laser Talon,采用选择性激光烧结(SLS)技术制造鞋钉,将重量减轻至158克,提升了运动员的冲刺速度和抓地力。此后,耐克与惠普(HP)合作,利用Multi Jet Fusion(MJF)3D打印技术加速设计迭代过程,并为多位奥运冠军定制3D打印鞋履,包括短跑名将Allyson Felix和Shelly-Ann Fraser-Pryce。

Nike为奥运短跑运动员开发的跑鞋拥有独特的钉鞋底,采用3D打印制造而成
2018年,耐克推出了Vaporfly Elite“Flyprint”跑鞋,这是首款大规模生产的3D打印鞋面产品。2024年,耐克再次引发关注,推出了几乎完全采用3D打印技术制造的Air Max 1000运动鞋,与柏林的3D打印专家Zellerfeld合作,限量发行1000双。

3D打印技术制造的Air Max 1000
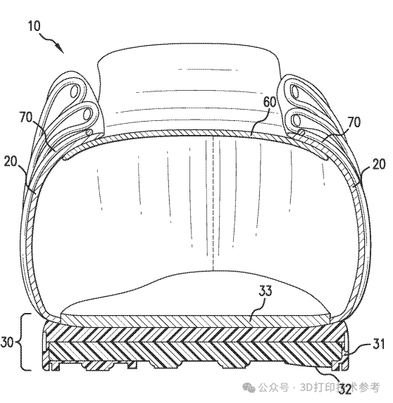
根据专利文件,耐克的新方法首先创建鞋面和鞋底的数字3D图案,然后将一块针织、机织或非织造织物平放在3D打印机的托盘上。接着,使用基于墨水、树脂、丙烯酸、聚合物或热塑性材料的打印材料直接在织物上打印出所需的图案。打印材料可能会在固化前略微渗入织物中,通过多层打印可在需要的位置创建加固区域,从而增强强度和灵活性。打印完成后,图案通过紫外线固化,以确保织物与打印材料之间的牢固结合。随后,鞋面被塑造成3D形状,以符合最终的鞋履设计。


接下来,鞋面被倒置放入3D打印机中,鞋底直接打印在鞋面上。专利指出,中底和外底可以使用聚氨酯或泡沫橡胶等灵活、有弹性的材料制造,以提升舒适性和耐用性。鞋底部分同样通过紫外线固化以硬化材料。最终,完成的鞋履将接受质量控制检查。


耐克的这项专利不仅适用于运动鞋,还涵盖了篮球、足球、自行车、网球、棒球、交叉训练和徒步等多种运动鞋履。此外,该技术还可用于制造正装鞋、乐福鞋、凉鞋、拖鞋、船鞋和工作靴等其他类型的鞋履。专利还指出,这种3D打印工艺不仅限于鞋履,还可以用于制造服装、服饰和装备,如帽子、夹克、衬衫、手套以及其他由织物、皮革、橡胶和泡沫制成的运动装备。
END
3D打印鞋履正在成为增材制造和鞋履行业的一个增长趋势。这种技术能够以最少的材料使用量满足客户对独特和个性化设计的需求。耐克并非唯一采用增材制造技术的鞋履品牌。今年早些时候,意大利奢侈时尚品牌Gucci在其2025年春夏系列中推出了多款3D打印Cub3d运动鞋。此外,佛罗里达州的鞋履开发商Syntilay最近推出了使用人工智能设计的3D打印拖鞋,而阿联酋初创公司ELASTIUM则与加州最大的鞋履制造商合作,推出了Orca 3D打印运动鞋。
耐克的这项新专利不仅展示了其在3D打印技术上的持续创新,也为鞋履制造的未来提供了新的可能性。随着3D打印技术的不断发展,我们有望看到更多个性化、轻便且可持续的鞋履产品进入市场。
注:本文由3D打印技术参考创作,未经联系授权,谢绝转载。