3D打印行业 | 24h观察,2025.10.30
3D打印行业 | 24h观察,全球行业要闻一日谈!
01. 3D打印设备物流量激增
中国物流与采购联合会29日公布今年前三季度物流运行数据。今年前三季度,中国社会物流总额为263.2万亿元,同比增长5.4%。从实物量看,工业控制计算机及系统、3D打印设备、工业机器人等产品物流量增长超过30%。

02. 我国试用原位3D打印声屏障
10月28日,广东交通集团报道,在长深高速河惠段改扩建项目城北段,路侧一排波浪型声屏障引人注目。这是广东高速公路首次试用3D打印声屏障,该技术为路域噪声治理提供了更智能、更绿色的新方案。
10月28日,东交智控霸道,在扬溧高速镇江南互通至丹徒枢纽段改扩建工程中,创新应用原位3D打印声屏障技术,建成了全球首例原位3D打印声屏障实体工程。

03. 我国3D打印无人驾驶车辆工厂投产
10月28日,PIX Moving湖州数字制造工厂正式投产。该工厂建立了金属3D打印与复合材料3D打印工作站,成功将零部件数量减少70%、模具成本降低90%,大幅提升了对全球多国市场需求的快速响应能力。该工厂的建立标志着3D打印技术在无人驾驶车辆制造中实现规模化应用。

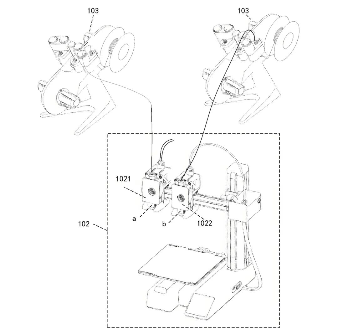
04. 拓竹多材料3D打印新专利
近日,拓竹科技国际专利WO-2025218693-A1公布,它给出了“软件定义多材料”的新思路:用共生矩阵算法会统计同一层内各耗材出现的频率,把极少同层的几种耗材自动分到同一喷头,从而把换料和冲洗双双压到最低;无需新增硬件,就能让高端机型实现全自动材料分配。

05. 我国曲面天线全3D打印取得进展
日前,大连理工大学科研团队研发的无人机蒙皮超薄一体化集成射频传感器挂飞成功,这标志着我国曲面天线全3D打印技术由概念向实装应用迈出了重要一步,填补了国内空白。

06. 多高校百万元设备采购
10月29日,南开大学发布该校材料科学与工程学院微尺度超高精度3D打印系统采购项目,预算110万元。
10月29日,四川工程职业技术大学发布同轴送粉激光增材制造系统招标公告,预算200万元。
1天1个3D打印小知识
关于“材料为王”的定律
3D打印的应用广度,根本上由材料科学的进展决定。从早期的PLA、ABS塑料到如今的钛合金、镍基高温合金、连续碳纤维复合材料乃至生物墨水,每一种新材料的成功应用,都为3D打印打开了一扇通往新领域(如航空航天、医疗植入物)的大门。

#3D打印 #增材制造 #行业资讯