3D打印行业 | 24h观察{2025.0915} 01. 8月份3D打印设备产量同比增长40.4% 9月15日上午,国新办举行新闻发布会,介绍2025年8月份国民经济运行情况。8月份,我国工业生产较快增… 2025年9月15日 586
新型工具钢+五激光龙门架金属3D打印,丰田汽车模具开发取得重大突破 导读:丰田新款混动车型在变速箱壳体开发过程中使用了Fraunhofer ILT的龙门架大型LPBF金属3D打印机和一款新型工具钢L-40,制造了大尺寸的… 2025年9月14日 502
中国日报:南京正建设全球最大3D打印药品生产基地 9月13日中国日报报道,全球最大的商业化3D打印药品生产基地正在江苏南京落成。该基地投产后,预计年产量可达3亿片。9月初,江苏省药监局向三迭纪核发了全国… 2025年9月14日 308
Polymaker 半年内全面升级 3D 打印材料并推新品 TCT深圳3D打印展的效果超出所有人预期,第一天刚开场就迎来第一波客流。笔者首先来到了Polymaker的展台,发现该公司在TCT上海展之后的半年内,其… 2025年9月12日 822
直播预告 | Geomagic Freeform在康复辅具设计中的创新应用 精彩直播预告 康复辅助设计与制造行业长期面临效率与精度的双重挑战。传统手工制作不仅流程繁琐、耗时长,且适配精度低、返修率高。随着社会老龄化加快,康复辅具… 2025年9月10日 549
3D·24|3D打印火星基地1年入住实验;星河动力正建增材设计制造基地;共享集团入选卓越级智能工厂;西发增材板块完成3.5亿融资 3D打印行业 | 24h观察 01. 航天六院西发公司增材制造板块完成首轮股权融资 9月9日消息,中国航天科技集团六院西发公司增材制造板块首轮股权融资工… 2025年9月9日 589
金属 3D 打印绿证遭查 国产品牌献方案 3D打印行业的从业者向来认为所从事的这项技术是区别于传统制造的环保技术,但国际巨头却在给我们抛出一个让很多人“懵掉”的问题——你的碳排放是怎么管理的? … 2025年9月9日 730
3D·24|又一3D打印企业获新融资;陶瓷打印入选工信部揭榜挂帅榜;H2D打印陶瓷和金属;三迭纪获全国首张3D打印药品生产许可证 3D打印行业 | 24h观察 全球行业要闻一日谈! 01. 3D打印粉末生产商获得新融资 9月8日消息,3D打印及钛合金粉末生产商南通金源智能技术有限公… 2025年9月8日 613
3D打印行业 | 24h观察{2025.09.04} 3D打印行业 | 24h观察 01.融速科技获得A轮融资 9月4日消息,融速科技新获A轮融资,金额未透露。该公司是一家聚焦金属送丝增材制造领域的高新技术… 2025年9月4日 543
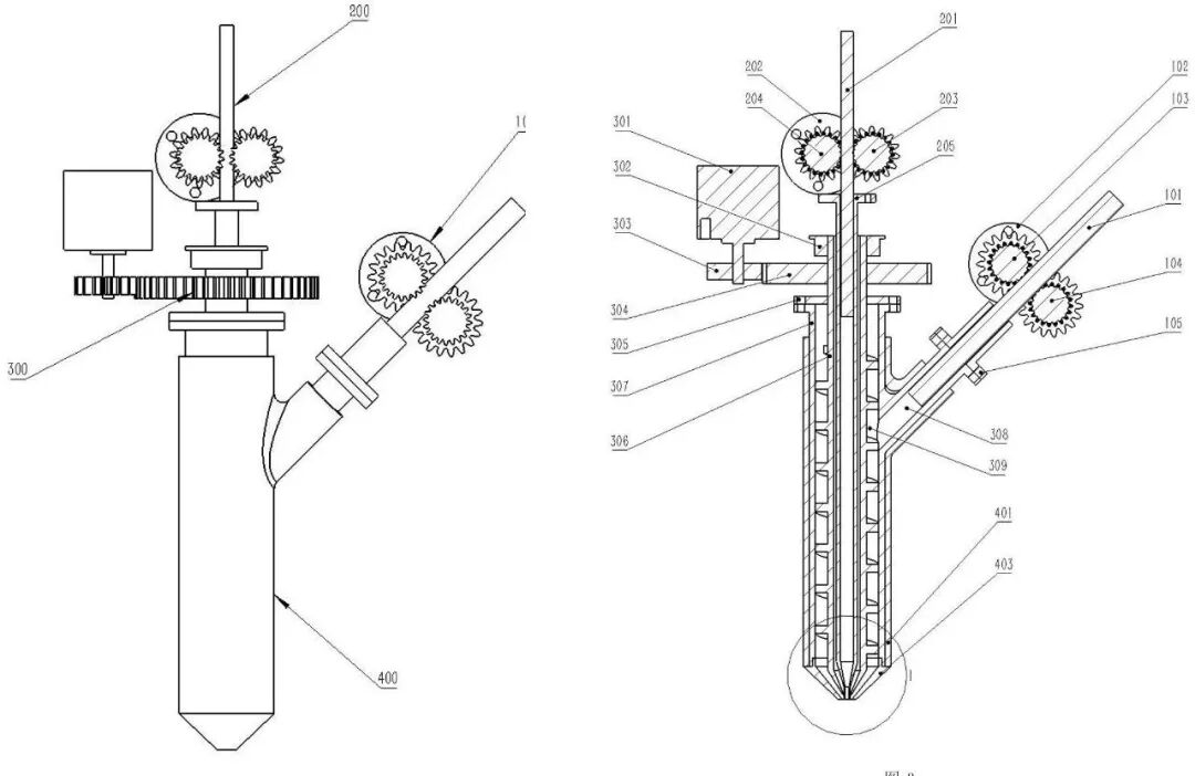
3D打印行业 | 24h观察 3D打印行业 | 24h观察 01. 哈工大发明双耗材独立挤出系统 近日,哈工大申请的“一种3D打印机双耗材独立挤出系统”专利公开。该发明可以让打印机使… 2025年9月3日 737